Замок накладной кодовый ЗУБЕР ЗКП2-40мм
(10711)
Описание товара
Код товара: 10711
Замок накладной кодовый ЗУБЕР ЗКП2-40мм универсальный
Замок накладной кодовый подходит для всех типов дверей и калиток , левого и правого открывания . С завода по умолчанию замок предназначен для внутреннего открывания. Если нужно наружное открывание смотрим видео как перевернуть язычок. На замке установлен заводской код 38, лучше его сменить на трехзначный как менять смотрите на видео или в описании. Замок кодовый ЗУБЕР это точный аналог ЗКП2. Внимание обратите внимание на фото разницы между дешевыми аналогами в пружинном блоке. В дешевых аналогах идет одна пружинка так называемый паучок, а в Оригинале и ЗУБЕР пружинки стоят под каждую кнопку, что увеличивает ресурс замка во много раз. Внутренняя часть пружинного блока выполнена из пластика как в Оригинале, что бы зимой пружины не примерзали к корпусу замка. Это очень качественный аналог можно брать на подъезды и калитки где очень большая нагрузка и количество людей.
Как сменить код на замке ЗУБЕР ЗКП2-40мм.
Для смены кода необходимо отвернуть 4 винта и снять блок пружин с рычагом. Кодирование замка осуществляется установкой сувальда в корпус замка в определенном положении: сувальда кодовых кнопок должны быть установлены скосом в направлении к оси замка. Сувальда неходовых кнопок должны быть установлены скосом в направлении от оси замка.
После замены кода установить и закрепить блок пружин на корпусе замка, совместив отверстие в рычаге с осью привода замка. Проверить работу замка с новым кодом при открытой, а затем при закрытой двери.
Технические характеристики:
Производитель Зубр
Страна производитель Китай
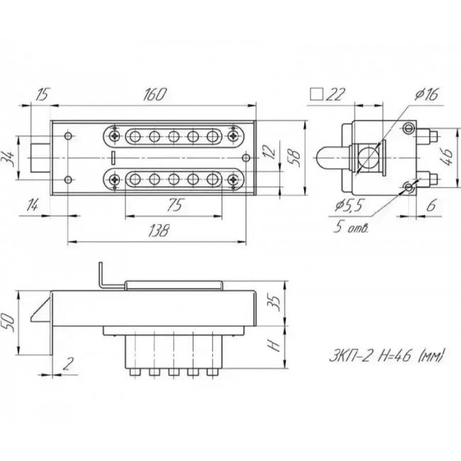
Габариты замка - 160x58x80 мм
Вылет защелки - 15 мм
Количество комбинаций кода - 1000
Толщина дверного полотна от 35- 45мм
Масса - 1.3 кг брутто
Вес замка - 1.17 нетто
Тип механизма - кодовый
Рекомендуемые товары




